WZ無重力粒子混合機 |
WZ無重力粒子混合機 應用領域 一農業領域:農藥、化肥、飼料及各種添加劑生產中的混合。 一食品工業:小麥粉、谷物的混合,奶粉的混合,香料及微量成份的混合,咖啡、味精、食鹽的混合。 一干燥:粉料的干燥。 一化學工業:化學藥品、化妝品、洗滌劑、涂料、樹酯、玻璃硅、顏料的混合。 一其它:藥品生產、添加劑、塑料等行業的混合。
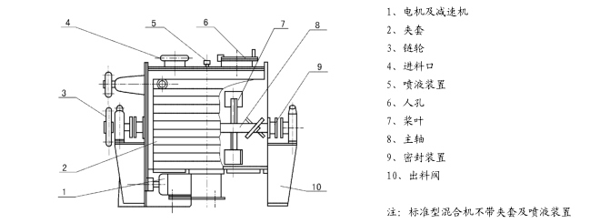
 性能特點 一該機通過兩根等速反向旋轉軸上特殊布置的槳葉,使物料作徑向、環向、軸向三向運動,形成復合循環,在極短的時間內達到均勻混合。 一可進行固(粉)—固(粉)(粉體粒度300—2000um)混合。 一根據用戶要求,還可以另加噴液及夾套裝置,使之可作為固(粉)—液(含液量<15%的混合及干燥設備使用。 一對比重、粒度等物,性差異較大的物料混合時不產生偏折,而獲得十分均勻的混合物。 一混合精度,固—固混合在1:1000配比時,標準偏差為十萬分之三~八,含量波動誤差<2%(變異因子)。 一混合速度快,一般粉體混合只需十分鐘左右。 一能耗低,是一般混合機的1/4~1/10。 一可密閉操作,運轉平衡可靠,維修方便。 一手動、電動、氣動出料方式供您選擇。 工作原理 本機由電機通過減速機、鏈輪帶動二根平行的主軸以一定的轉速作等速反向轉動。 以一定角度安裝在主軸上的槳葉將物料拋灑到整個容器空間,使物料處于瞬間失重狀態,廣泛交錯對流、擴散,從而達到均勻混合。對比重和粒徑及形狀差異懸殊的物料混合時不會產生偏析,是一種迅速高效的粉體混合設備。本機可按用戶要求,增加夾套及分散棒,也可提供氣動出料及噴液裝置。接觸物料部分材質為碳鋼或不銹鋼。 技術參數
| 型號 |
WZ-0.1 |
WZ-0.1 |
WZ-0.5 |
WZ-1 |
WZ-2 |
WZ-4 |
| 全容積m3 |
0.1 |
0.2 |
0.5 |
1 |
2 |
4 |
| 每次最大投量(kg) |
36 |
90 |
180 |
360 |
720 |
1440 |
| 工作壓力Mpa |
常壓或微壓 |
| 工作溫度℃ |
可加熱或加熱 |
| 裝機功率(KW) |
3 |
4 |
5.5 |
7.5 |
22 |
37 |
| 最大外形尺寸(長X寬X高mm) |
1100X1062X723 |
1218X1262X952 |
1570X1328X1065 |
1800X1390X1480 |
2360X1790X1800 |
2980X2112X2333 | 說明:1、標準機型無夾套,無噴液裝置,如需要,訂貨時須說明 2、當物體比重p<0.6×103kg/m3時,每次投料量ω=ρ物×V機× 0.6(kg); 當物體LL重p≥0.6×103kg/m3時,每次投料量ω=600×V機×0.6(kg)
|
|